PHOENIX CONTACT - PHC2903173 PLC-OPT-LPE-24DC/48DC/100 MODULO

Accedi per visualizzare prezzi e disponibilità
Caratteristiche principali
Tensione di ingresso - 19.2...28.8 V
Tensione di uscita - 3...48 V
Corrente nominale di impiego Ie - 0.1 A
Con indicazione LED - sì
Tipo di uscita digitale - Elettronico
Confezione
1 PZ
EAN
4046356727860
Codice prodotto
PHC2903173
Cod. produttore
2903173
Produttore
PHC
Tensione di ingresso:
19.2...28.8 V
Tensione di uscita:
3...48 V
Corrente nominale di impiego Ie:
0.1 A
Con indicazione LED:
sì
Tipo di uscita digitale:
Elettronico
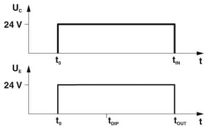
Modulo a un canale per il prolungamento degli impulsi, ingresso: 24 V DC, uscita: 3-48 V DC/100 mA, alimentazione: 24 V DC, connessione Push-in







